Following the lead of Amazon, Intel, GoPro and Google, it appears to be like like one other expertise big is able to step into the drone trade.
A patent found by LetsGoDigital means that South Korean firm Samsung is planning to develop a drone. As outlined on this PDF, Samsung’s drone might have an built-in show with facial recognition expertise and the flexibility to learn gestures.
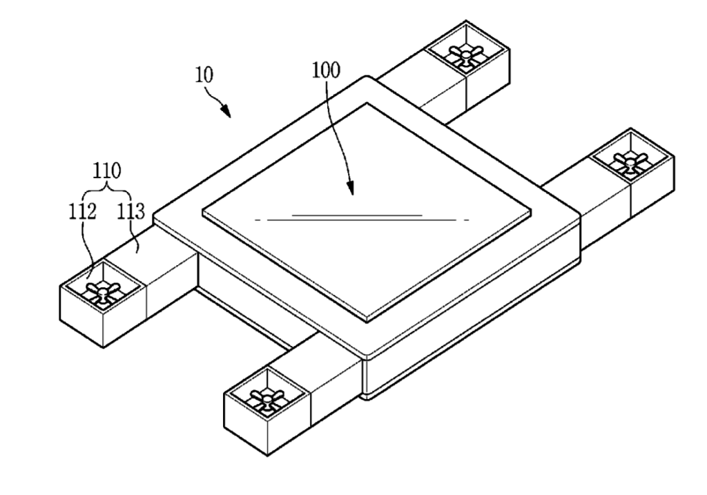
Instead of a traditional pictures drone, the patent seems to be extra like a flying display screen. Quite what the purpose of that kind of machine can be, we don’t know.
Reading into the patent description, it appears to be like as if Samsung needs to pack each form of drone-related expertise into the flying machine, together with impediment avoidance, GPS and a ‘vibration unit’.
The Samsung drone has a central show with 4 propellers on every nook. Presumably, it must fly at an angle to be a helpful display screen whereas within the air. However, a clue to the way it would possibly function could be discovered later within the patent:
This aspect view seems to point out what the patent describes because the “joint manipulator” in motion. The propellers could be reconfigured to vary the angle at which the drone sits.
Samsung steps into the drone trade?
From the patent, Samsung’s flying machine appears to be like very totally different to anything in the marketplace. It appears as if leisure can be the main target, fairly than pictures. For that purpose, the closest factor we will evaluate it to is maybe one in all Intel’s Shooting Star drones.
Flying screens may very well be nice for, er, hands-free skyping and relentless focused promoting. That’s all we’ve obtained in the meanwhile.
Whatever the intention of the machine, little question Samsung bosses can have seen the various public failures of formidable drone trade tasks. Let’s hope they know what they’re moving into.
